Home
FORUM
Shopping Cart
Support
Search
Login Form
Username
Password
Show Password
Remember Me
Log in
Forgot your password?
Forgot your username?
Create an account
Main Menu
Automotive Repair Help
Electronics Repair Help
Locksmith Repair Help
Misc. Educational Material
Bench, Boot & In-Circuit Pinouts
Benchtop Power-up Pinouts
BIN File Decoding
Circuit Schematics
YouTube Public Playlists
Wiring Diagrams
Acura, Honda
Chrysler, Dodge, Jeep
Ford, Lincoln, Mercury
General Motors
Infiniti, Nissan, Subaru
Large Trucks
Mazda, Mazda USA
Mitsubishi
Web Shop
Electrical Components
J2534 Calibration Files
KESS Recovery Files
Memory Dumps
VMWare (Premade VMS)
PC Apps & Docs
Tools & Supplies
You are here:
Wiring Diagrams
General Motors
Pontiac Grand AM 2003 wiring diagrams
Pontiac Grand AM 2003 wiring diagrams
Parent Category:
Wiring Diagrams
Category:
General Motors
wiring
schematics
diagrams
gm
general motors
pontiac
grand am
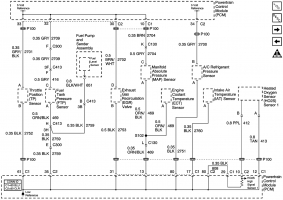
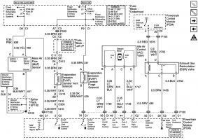
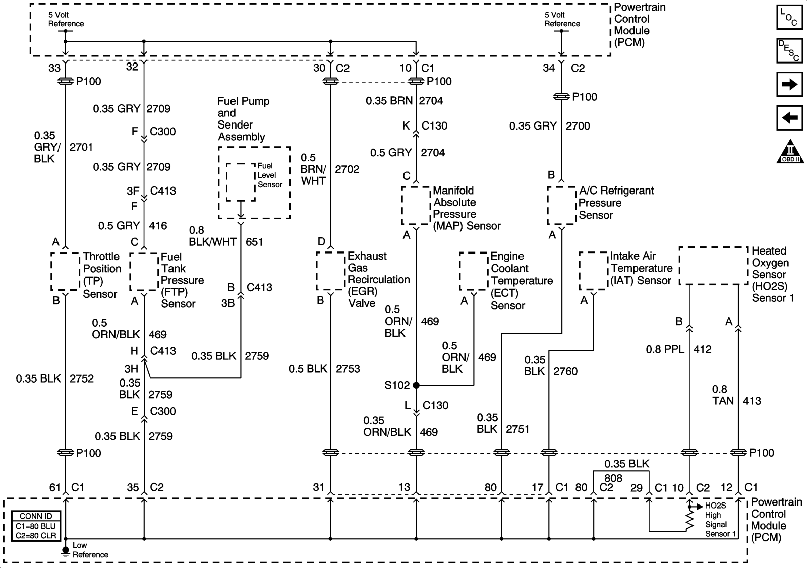
Engine Controls 2.2L
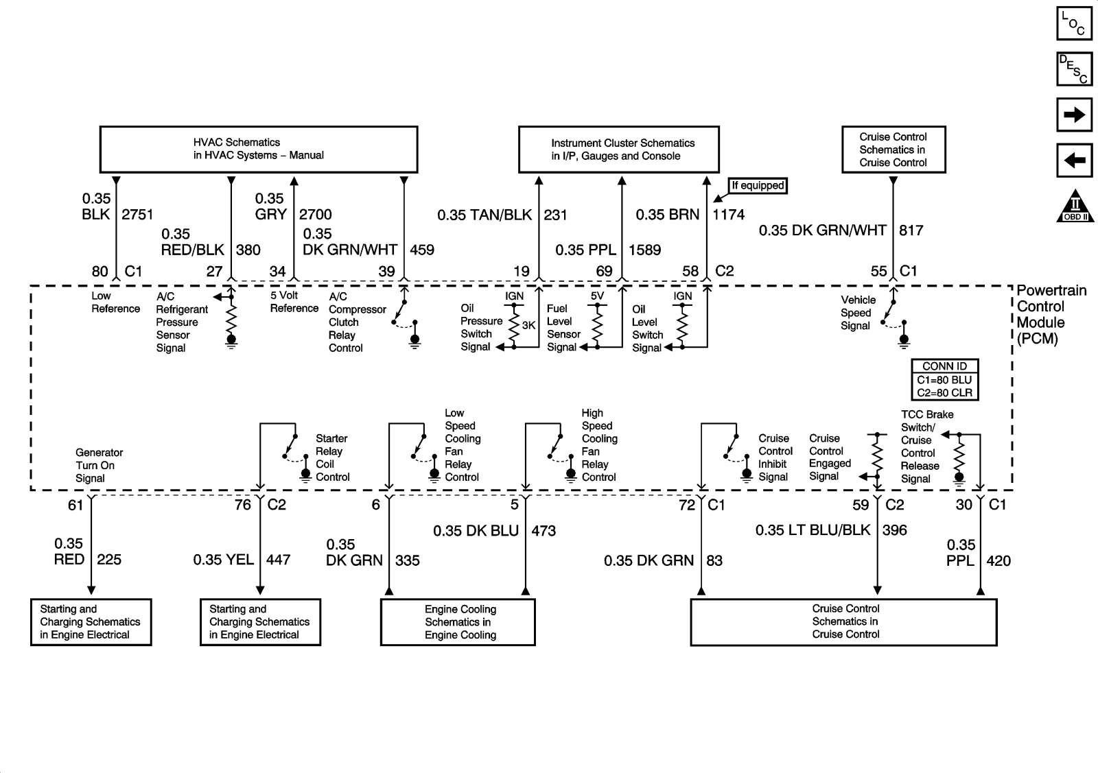
5 Volt and Low Reference Bussing
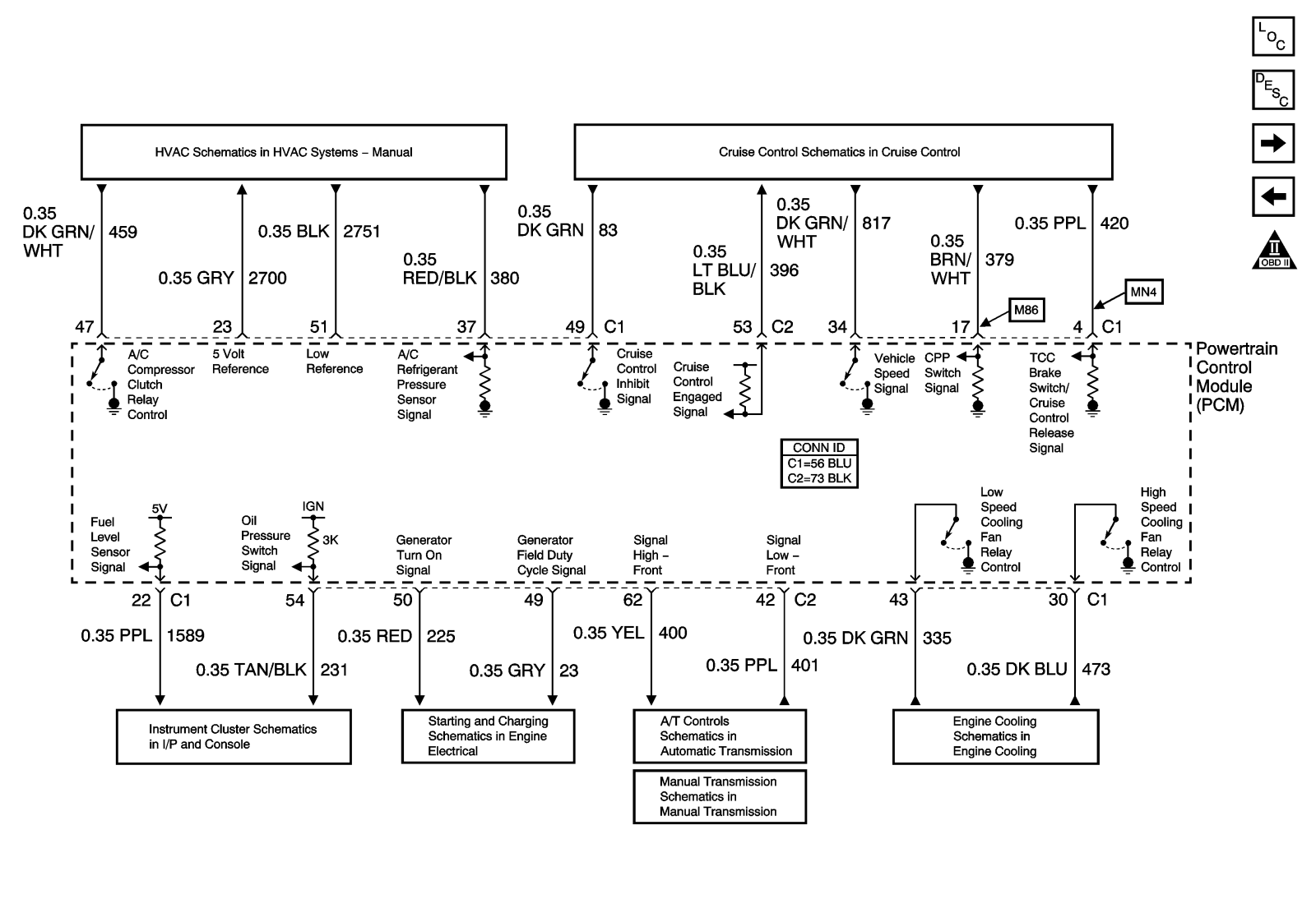
Controlled-Monitored Subsystem References
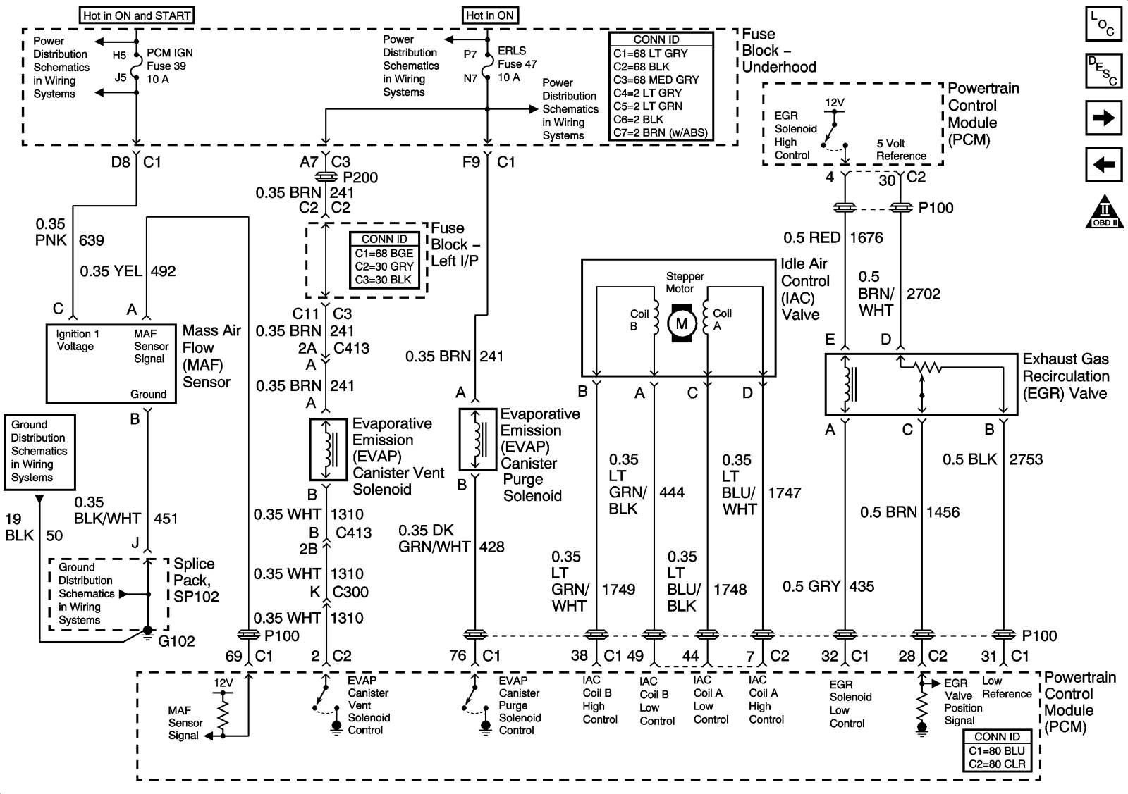
EVAP and IAC Controls
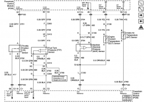
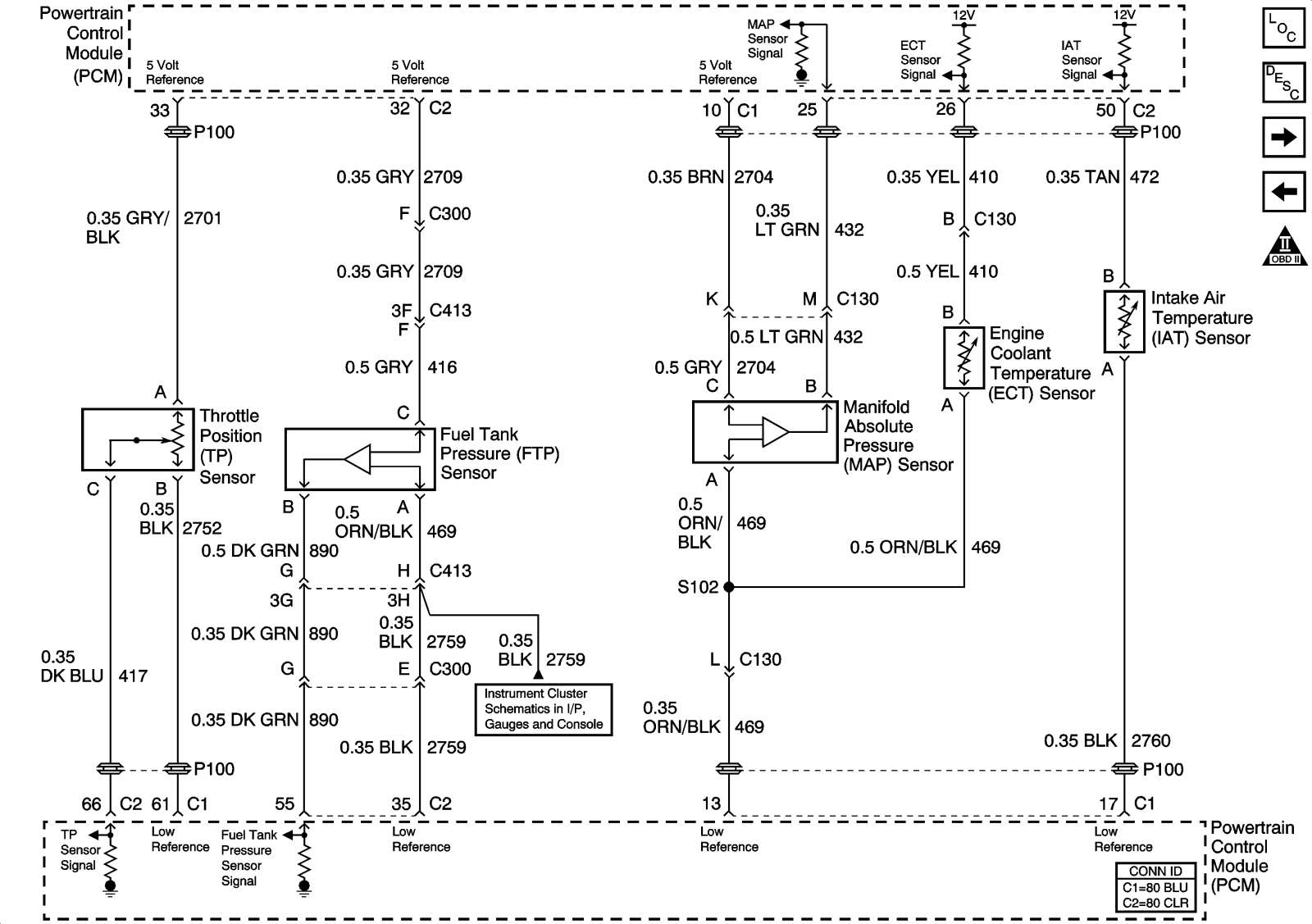
Engine Data Sensors– Pressure and Temperature
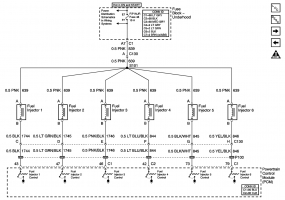
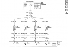
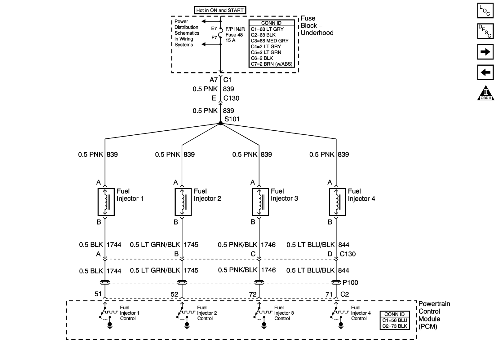
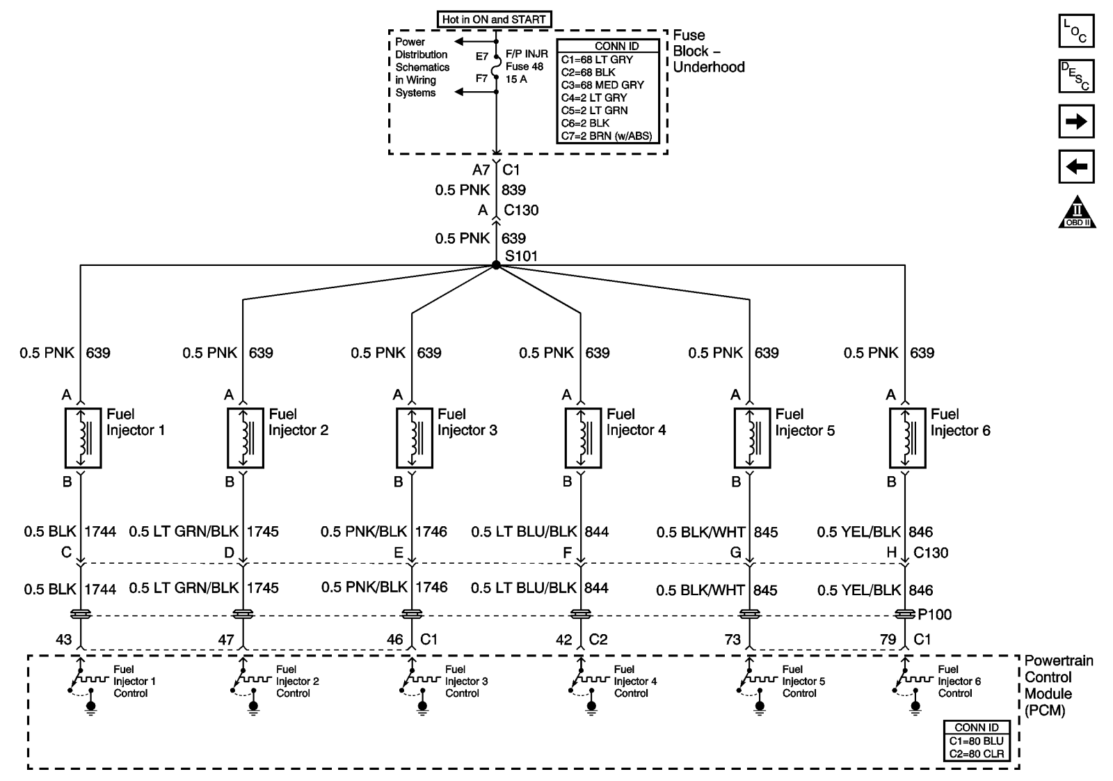
Fuel Injectors
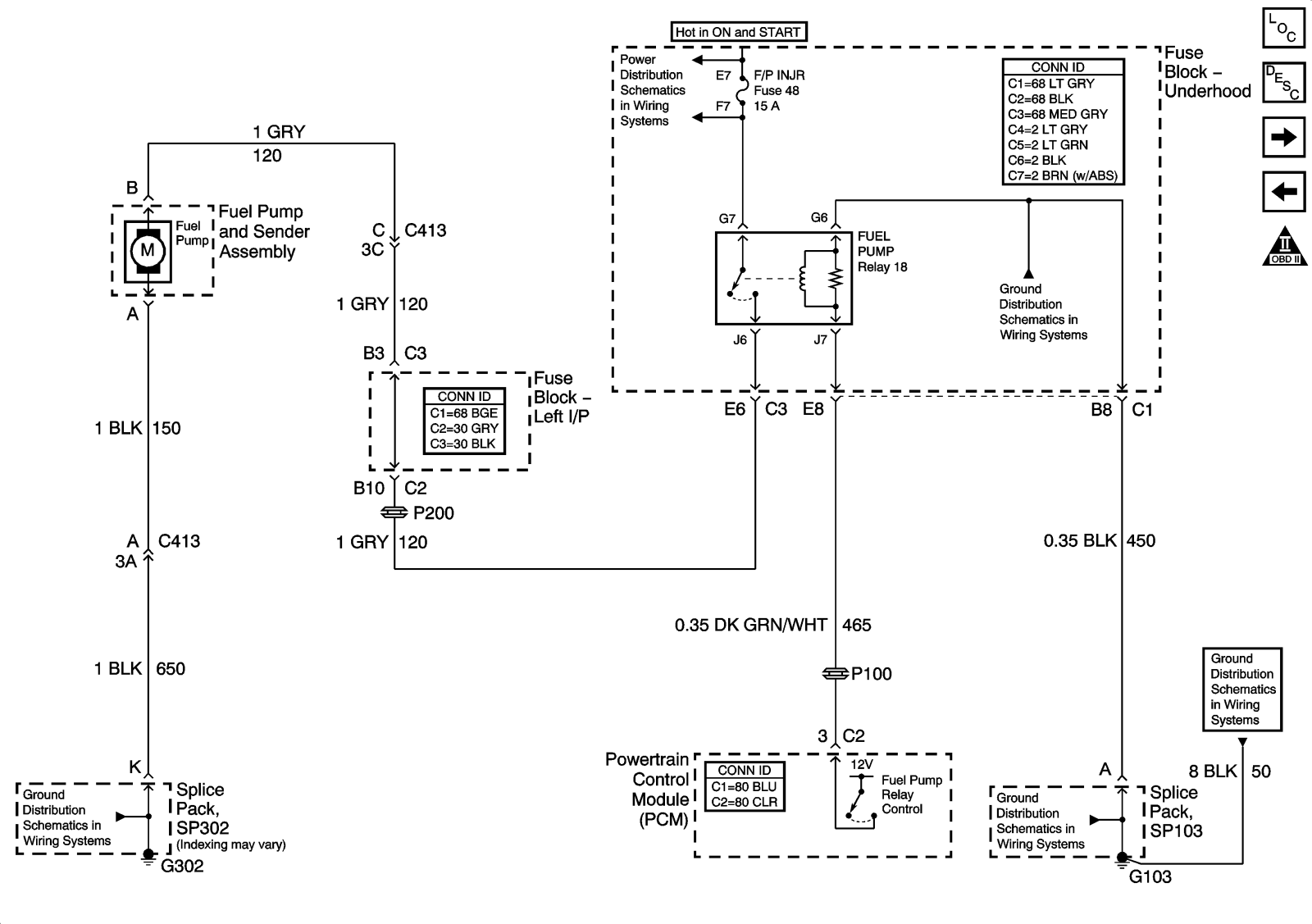
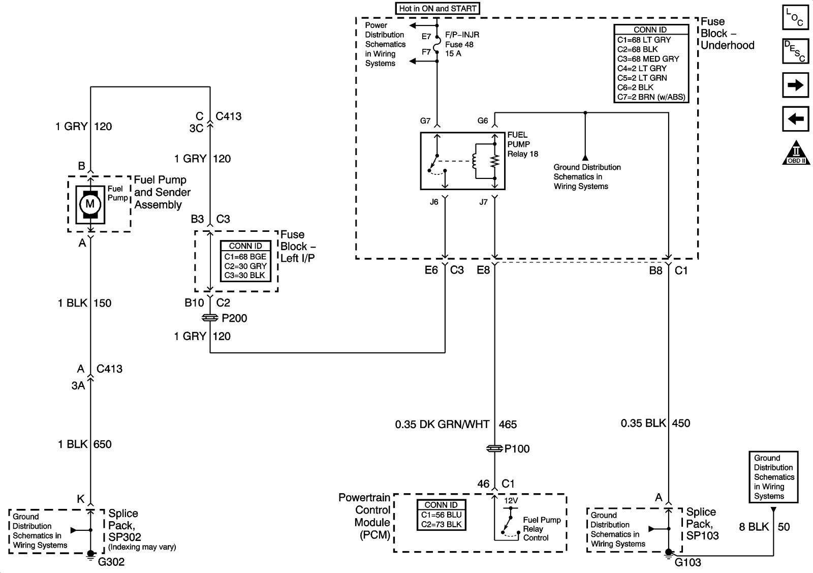
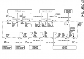
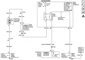
Fuel Pump Controls
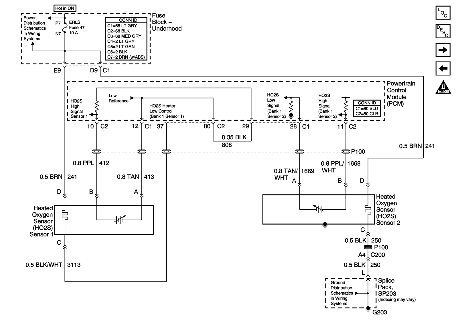
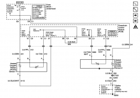
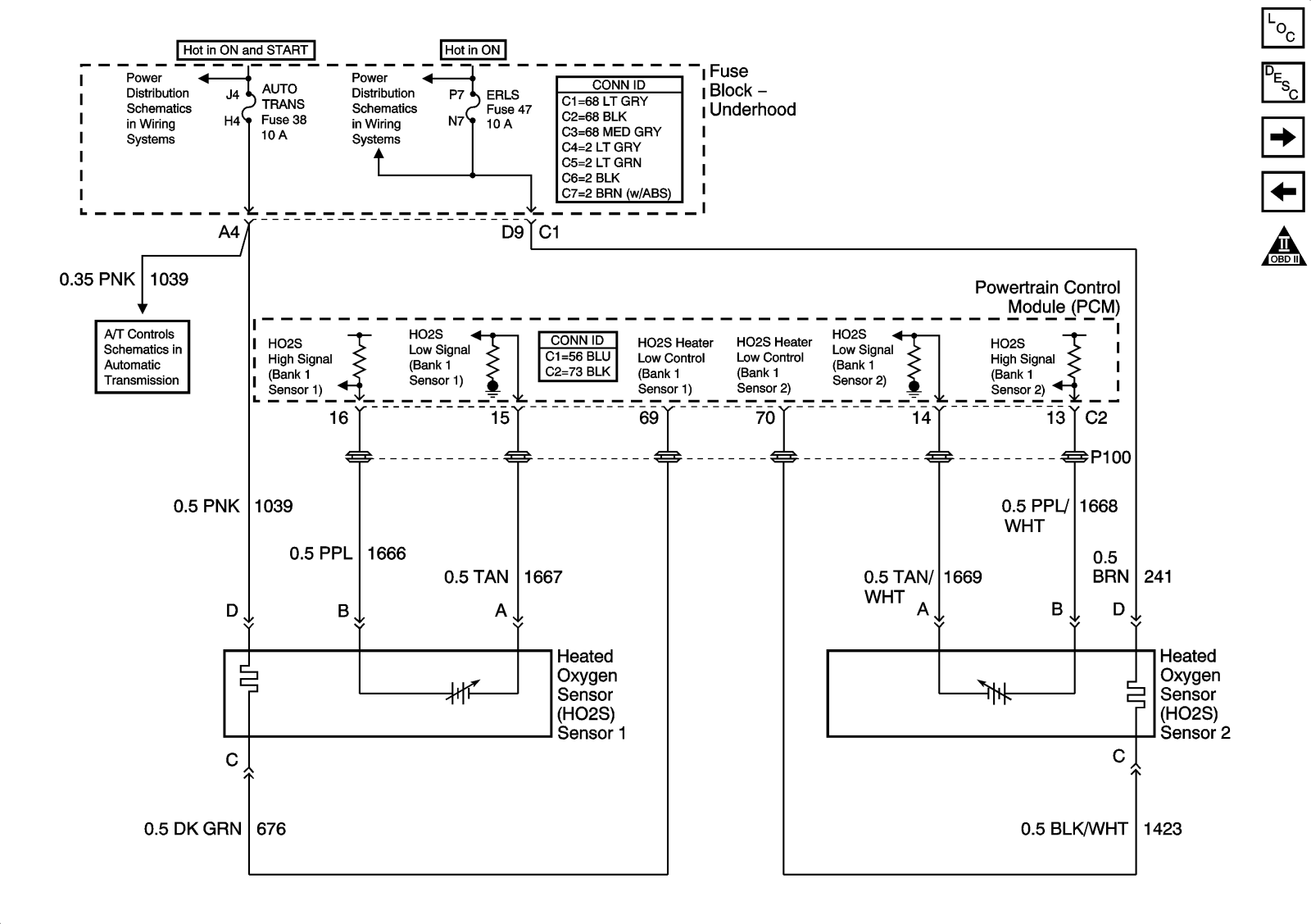
Heated Oxygen Sensors
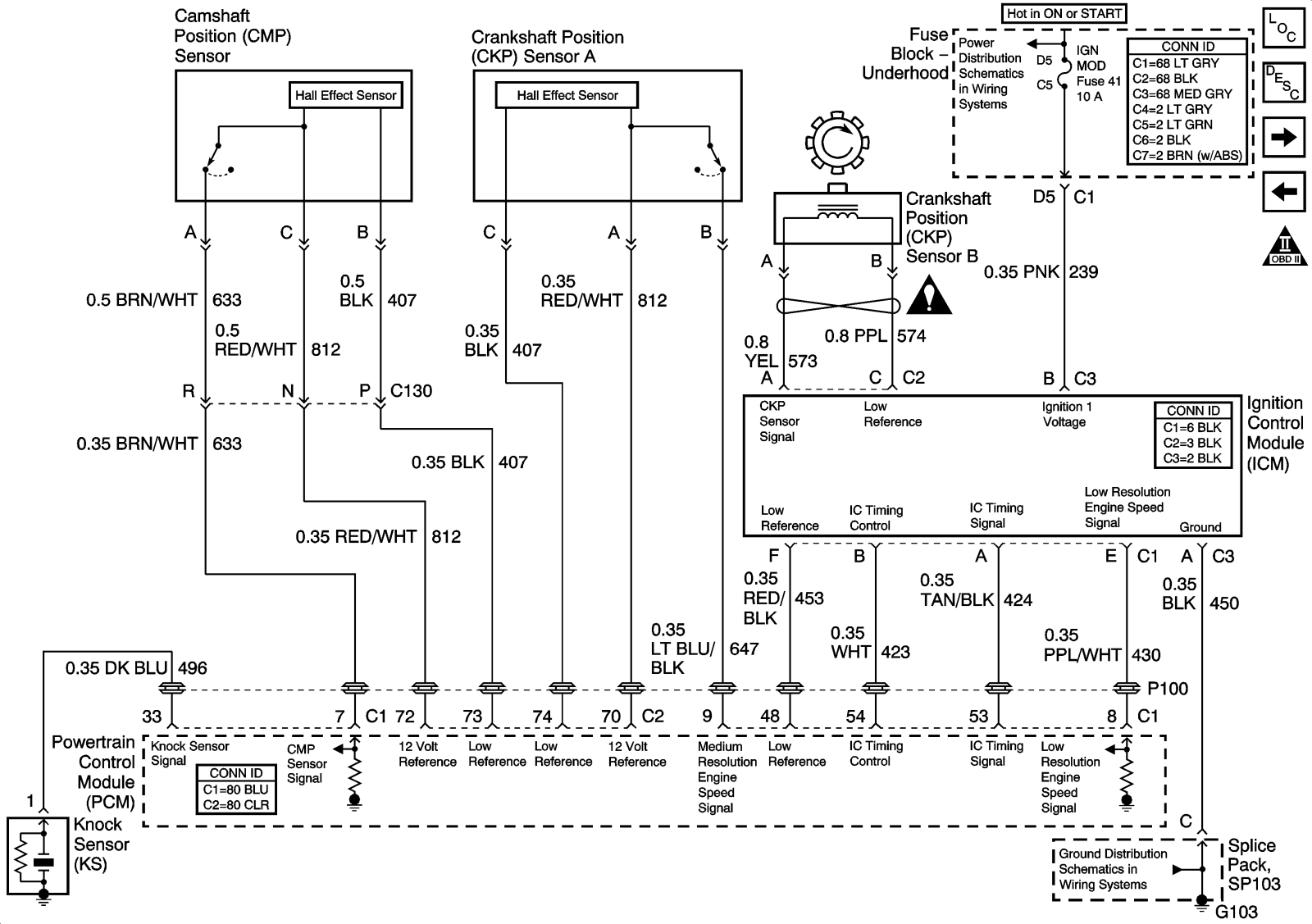
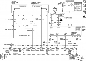
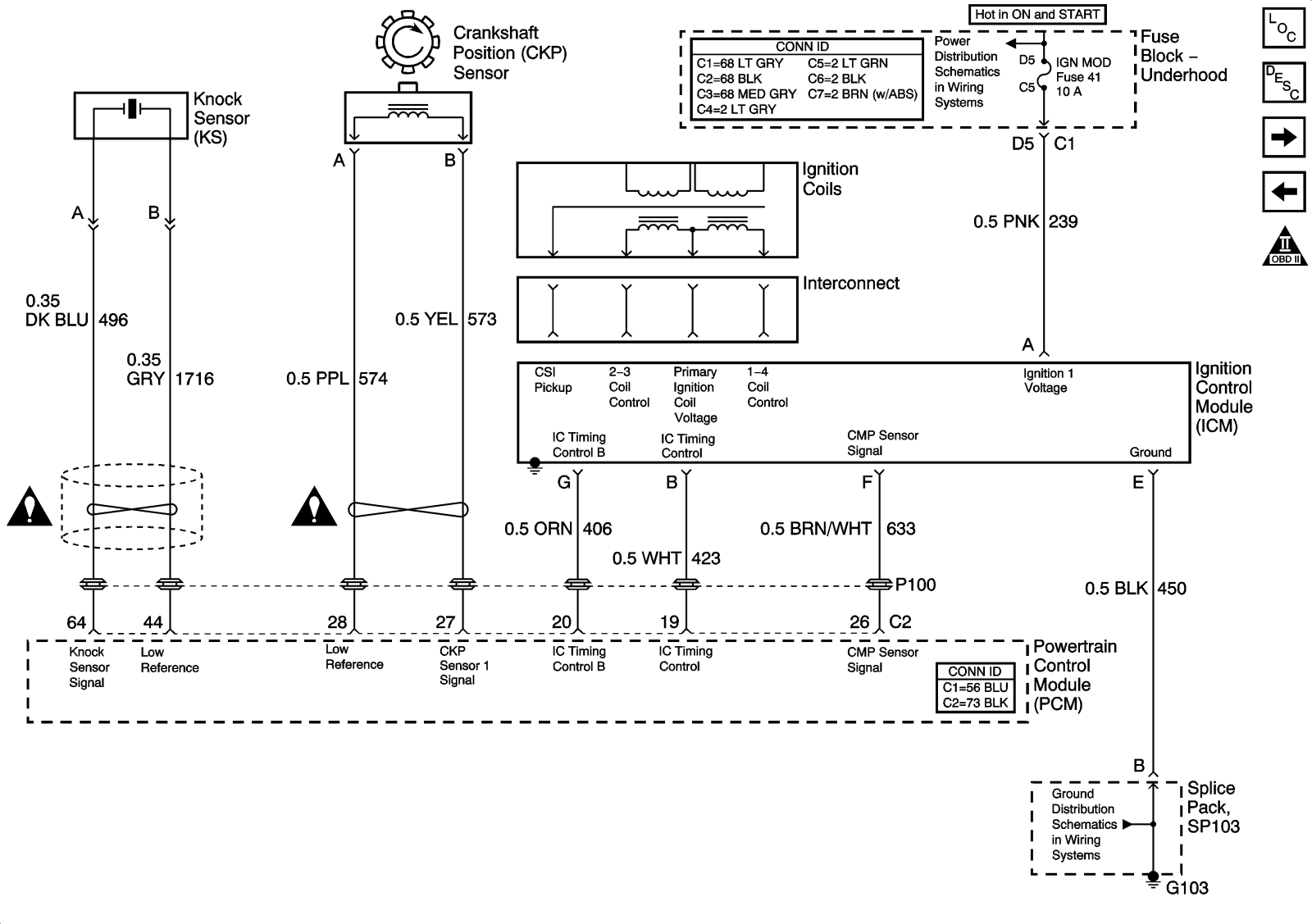
Ignition System
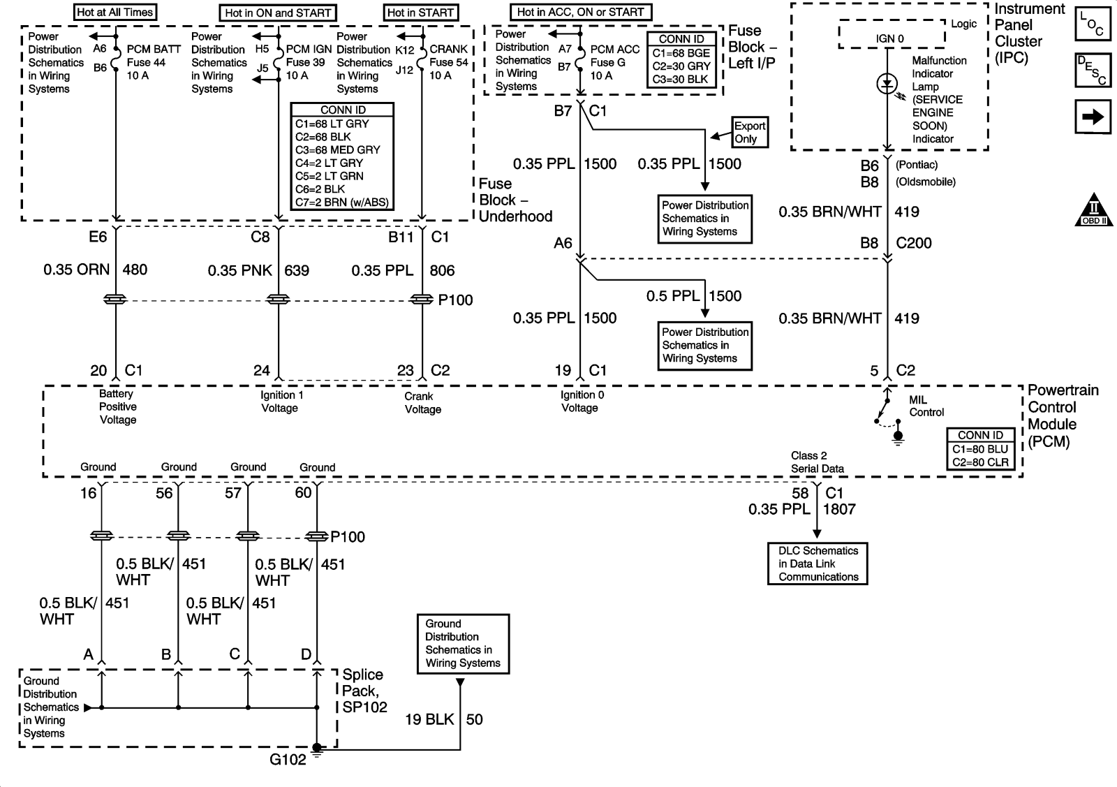
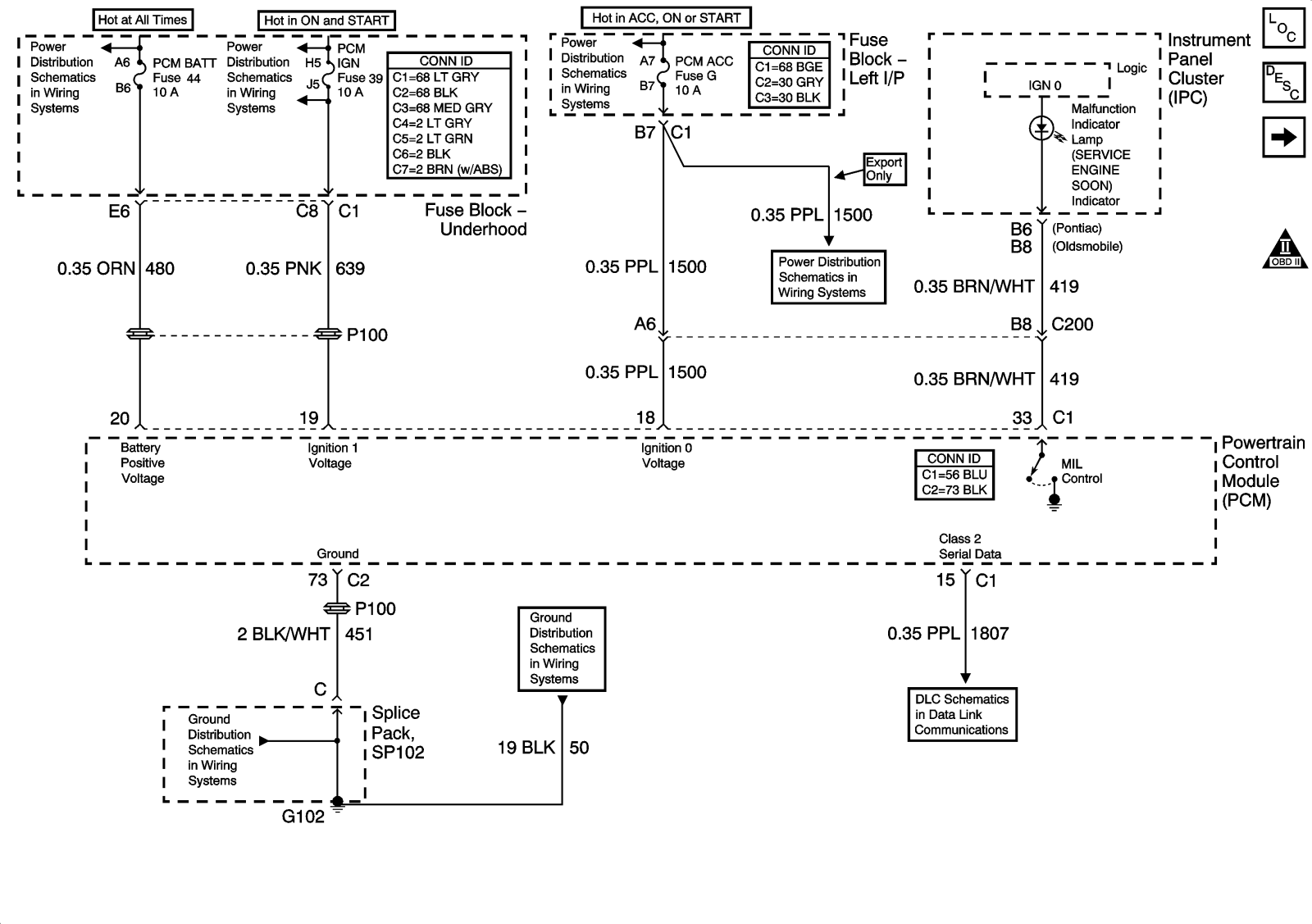
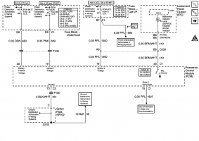
Power, Ground, Serial Data and MIL
Transmission Controls– AT
Engine Controls 3.4L
5 Volt and Low Reference Bussing
Controlled-Monitored Subsystem References
Engine Data Sensors - Pressure and Temperature
Fuel Injectors
Fuel Pump Controls
Heated Oxygen Sensors
Ignition System
MAF, EVAP Controls, IAC, and EGR
Power, Ground, Serial Data and MIL
Transmission Controls - AT
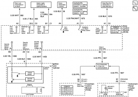
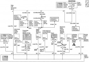
Controlled-Monitored Lighting References
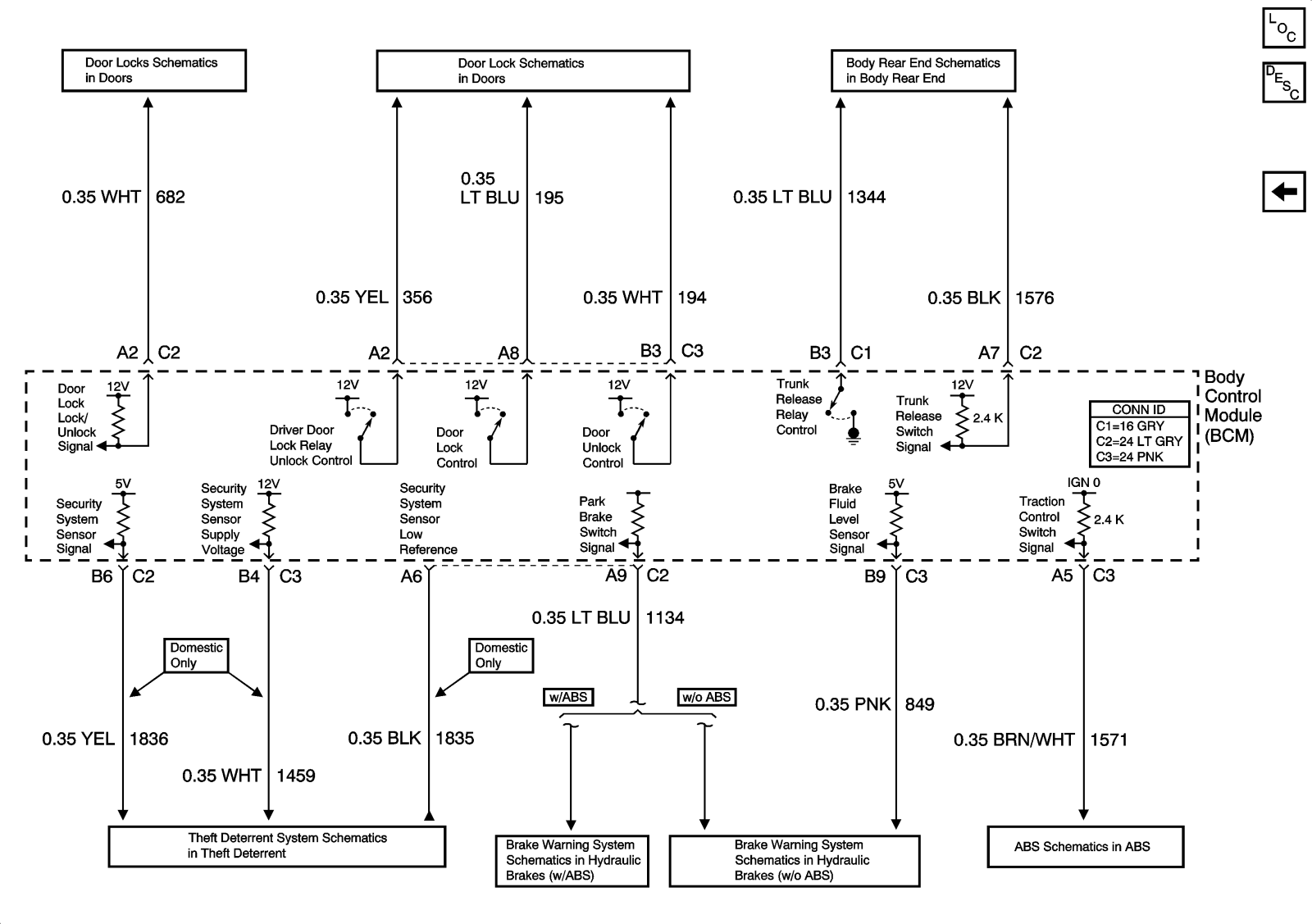
Controlled-Monitored Lock, Theft Deterrent, Brake References
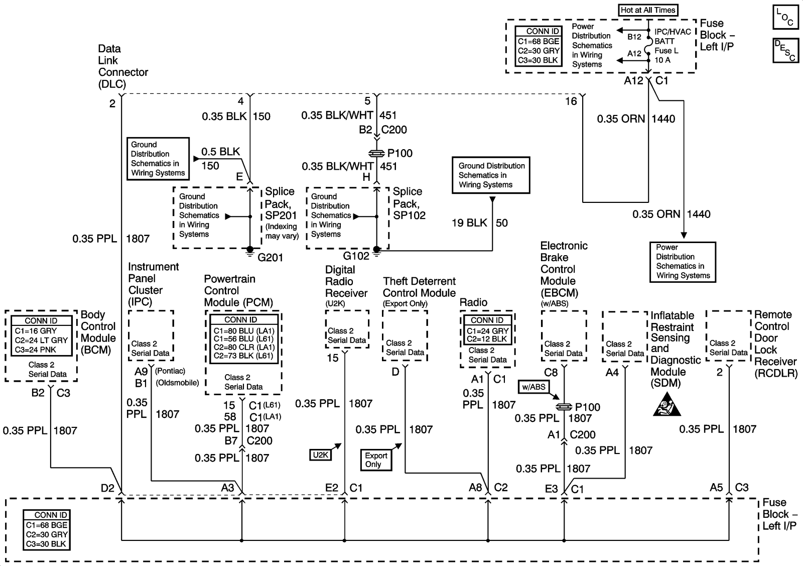
Data Link Connector Schematics
Fuel Level, Oil Level and Oil Pressure
Indicators
Power, Ground and Controlled-Monitored References
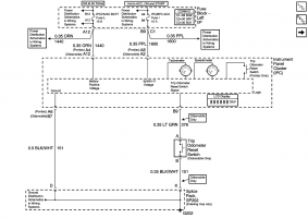
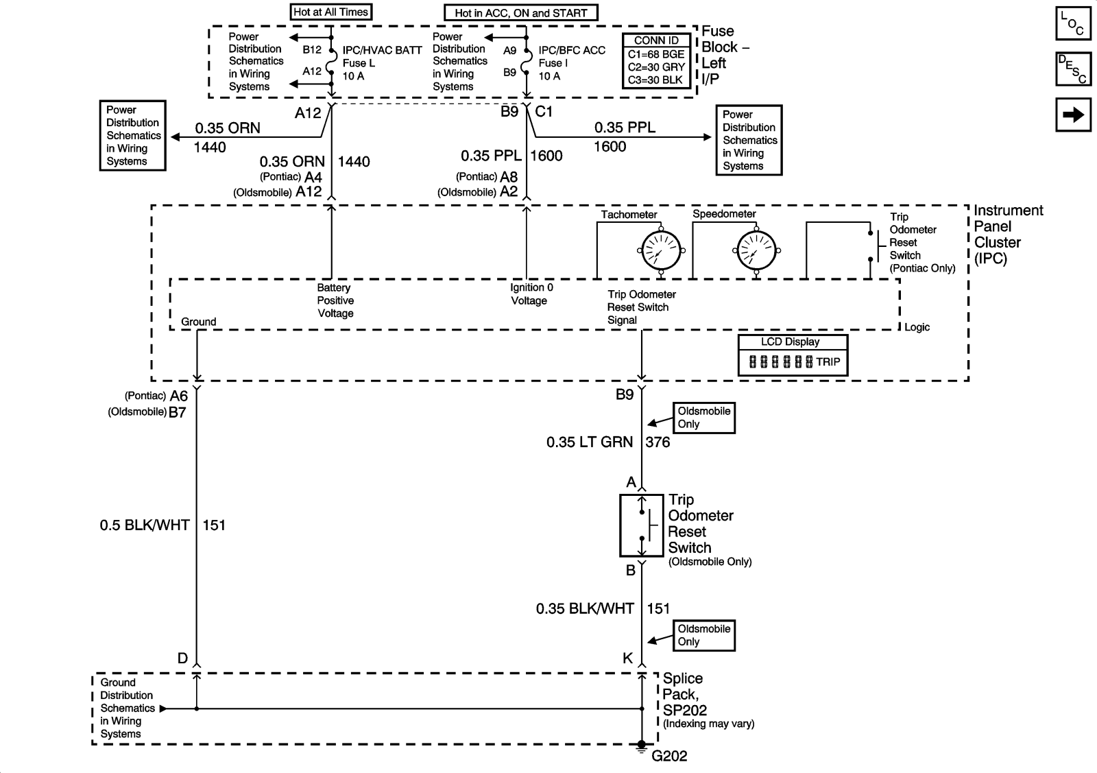
Power, Ground, Tachometer, Speedometer and Odometer
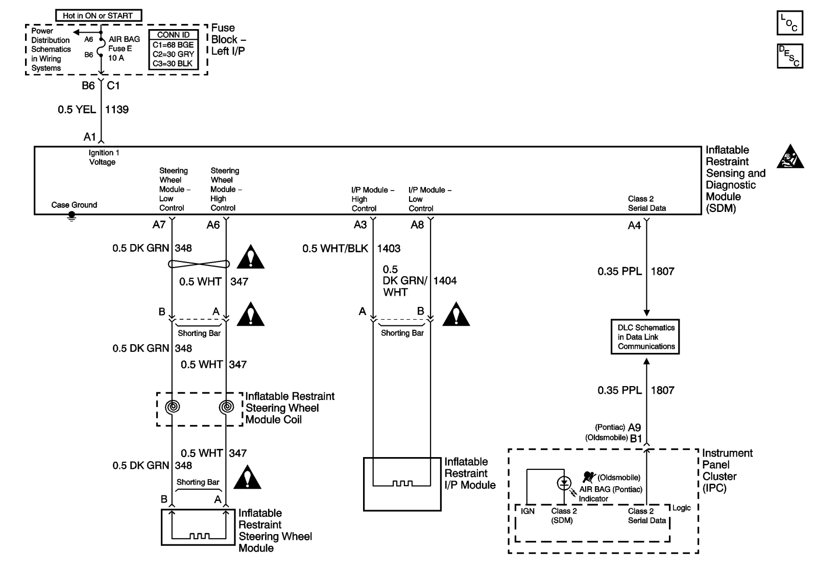
SIR
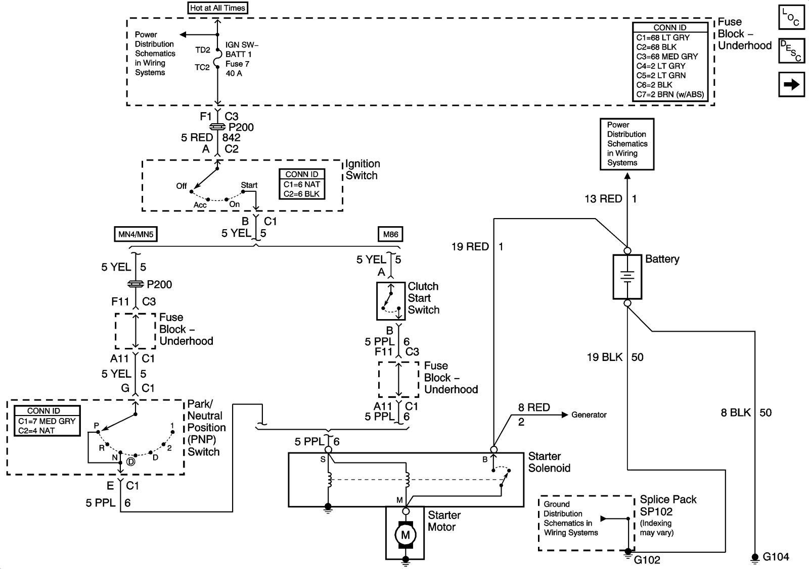
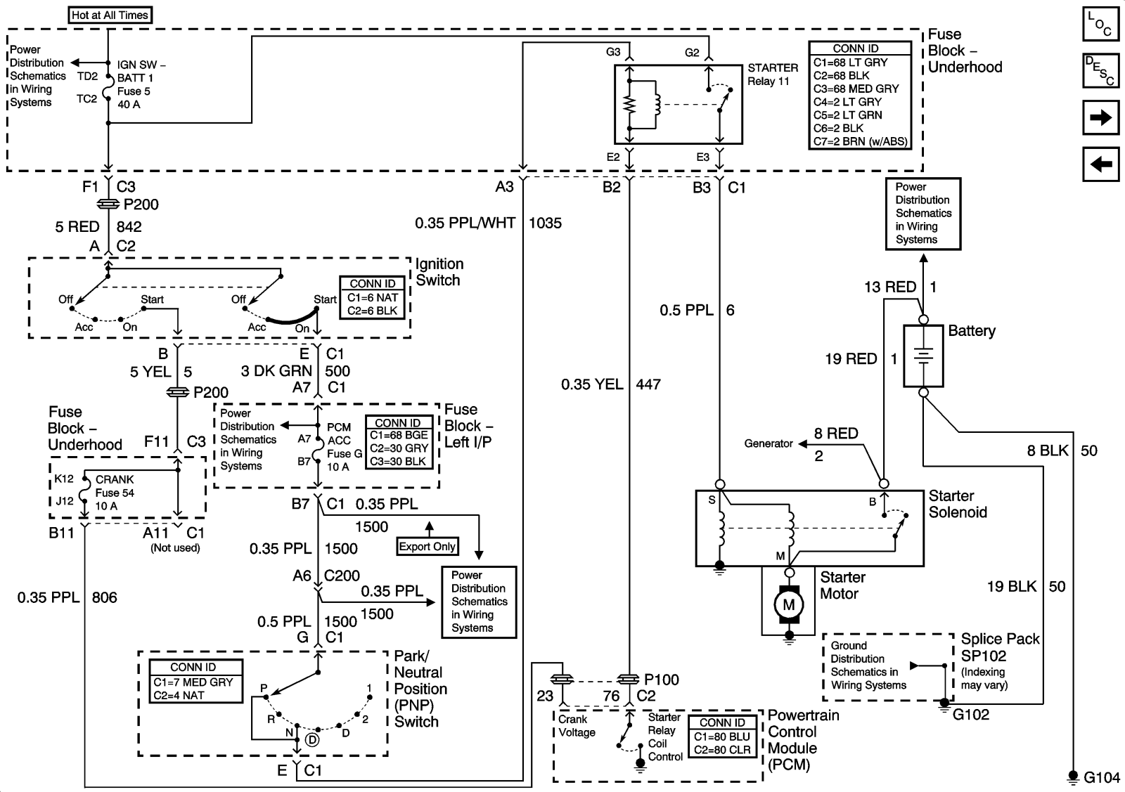
Starting System L61
Starting System LA1
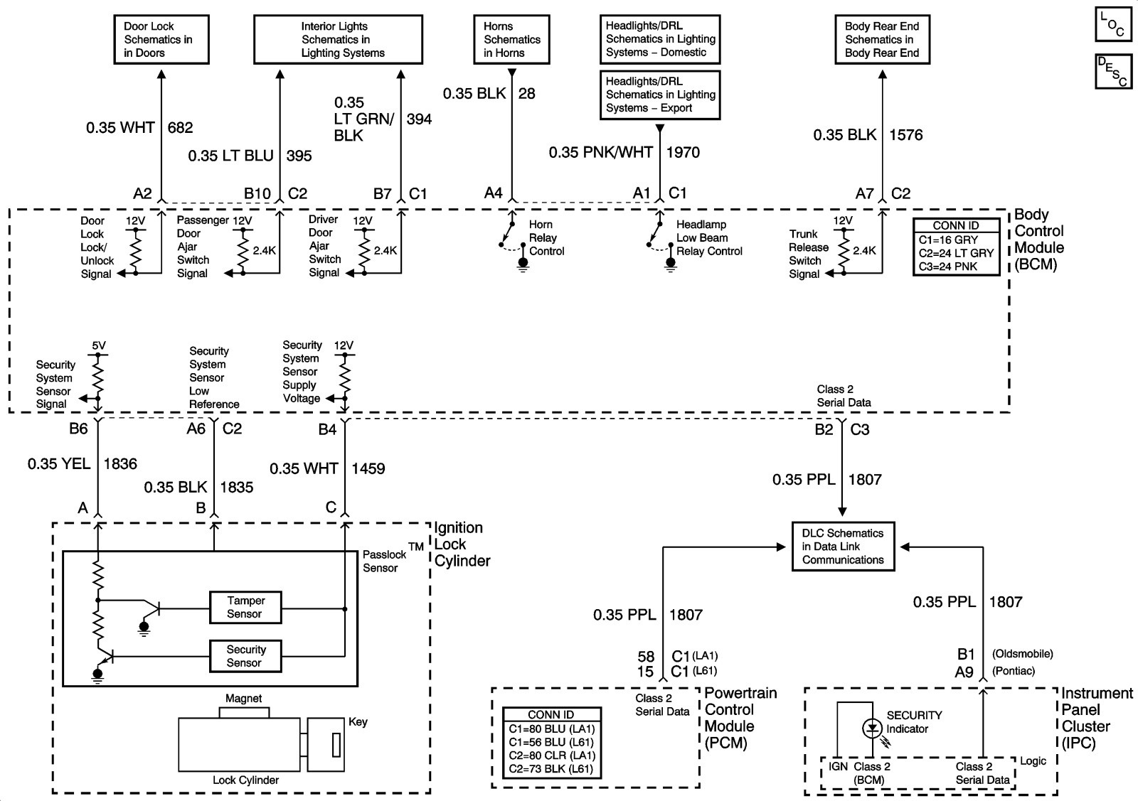
Theft Deterrent System
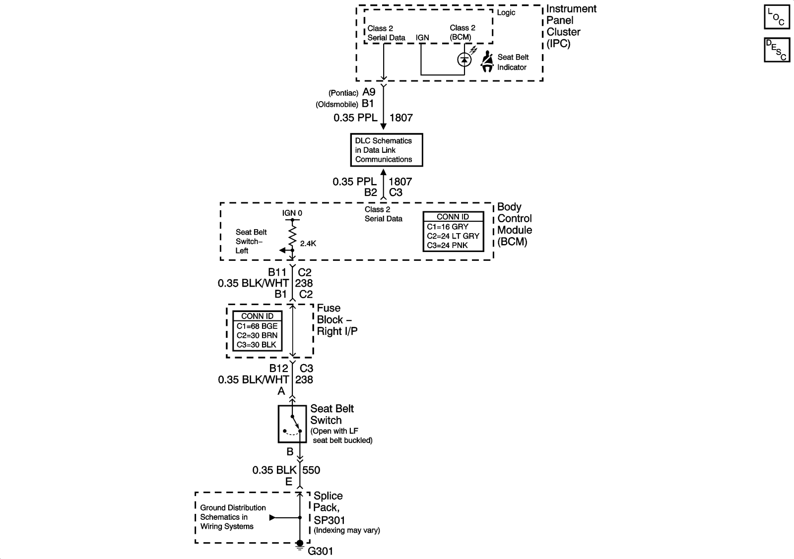
Seat belts